
|
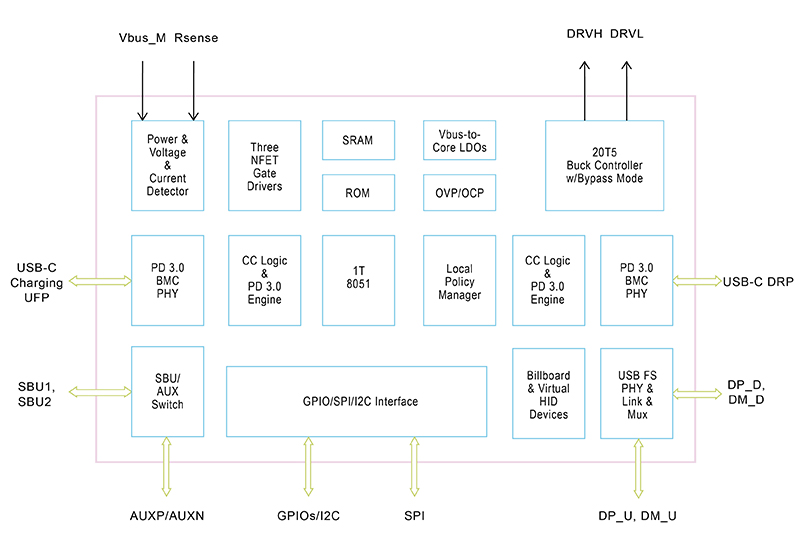
VIA Lab’s VL106 is a highly integrated single chip DisplayPort Alt-mode and USB Power Delivery 3.0 controller for USB-C devices designed for USB-C multi-function docks with charge through function. Integrated USB-C charging UFP, VL106 can perform DP alt-mode video output functionality and simultaneously charging connected PD host once external power source is detected. Integrated second USB-C DRP can either connect to USB-C power adapter to charge PD host or connect to USB-C devices to access data transfer. A D+/D- charging ePHY is integrated to support chargers using D+/D- pins to do power protocol handshake and then converted to USB PD protocol. VL106’s Device Policy Manager could negotiate power rules between its DFP and UFP then enable power charge through. Charging a host under dead battery mode and PD3.0 fast role swap are supported. DP AUX channel to USB-C SBU1/SBU2 switch is built-in to meet DP Alt-mode AUX channel resistance requirement. USB Billboard device function is built-in to meet “VESA DP Alt-Mode on USB Type-C” spec. VL106 also support smart auto-standby that automatically entering deep power saving mode when connected interface is in idle state.
Adopting HV process, 20V-to-5V Buck controller with bypass mode is built-in to provide 5V power for system use. CC pins and SBU pins can tolerate to 22V in system level. Comparator based voltage detector and Vbus current detector can instantly monitor USB PD power safety. Built-in trimmed RC oscillator, linear voltage regulators, three NFET gate drivers, VL106 can work perfectly without external buck-boost circuitry to perform USB PD charge through function. 8 GPIO pins are available for specific application usage and muxed with one I2C Master and one I2C Slave interface. The SPI interface can support external SPI flash or sharing SPI flash with VLI Hub controller for firmware upgrade. VL106 is available in QFN 48L (6x6x0.85 mm).
|
![]() |